3D Design

We help our Clients convert Napkin Sketches into Physical Products & Other Product Development Solutions using CAD

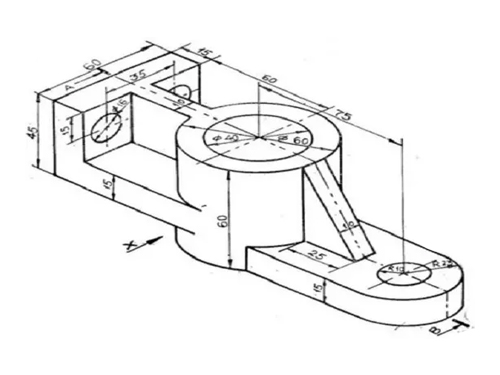
  • 3D CAD Design and Drafting services for Metal Components
  • Expertise in Various Materials and their Properties
  • Conversion of Hand Sketches into production-ready 2D Drawings
  • Bill of Materials (BOM) Generation
  • Design for Manufacturability (DFM) analysis to Optimize Production Costs
  • Revision Control and Versioning